マツダは、ロータリーエンジンの燃費を向上するための特許を複数出願しています。
マツダ、ロータリーエンジンの燃費を向上する特許を出願
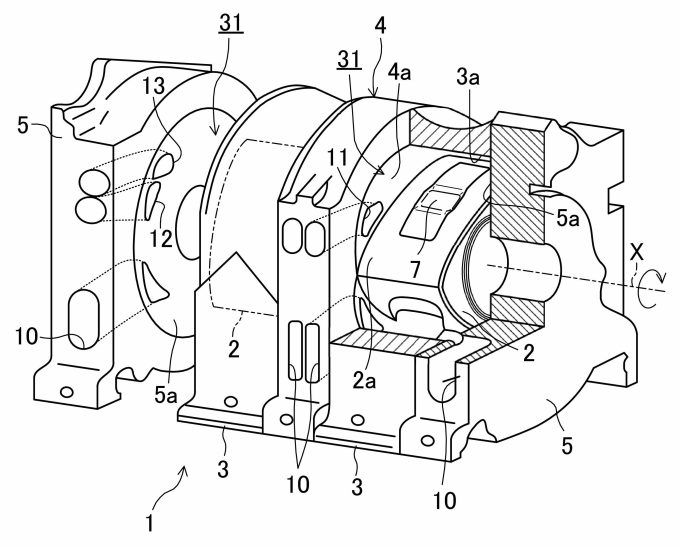
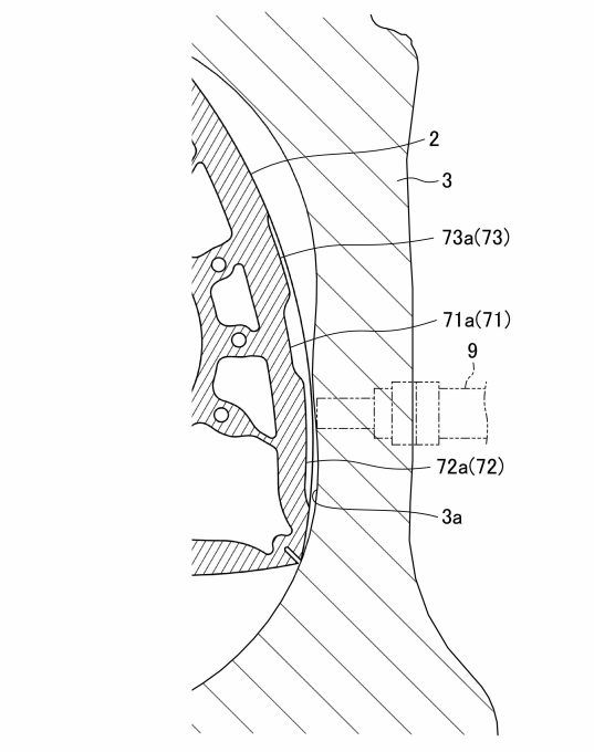
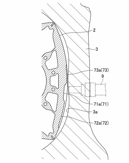
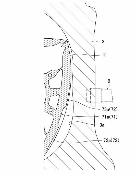
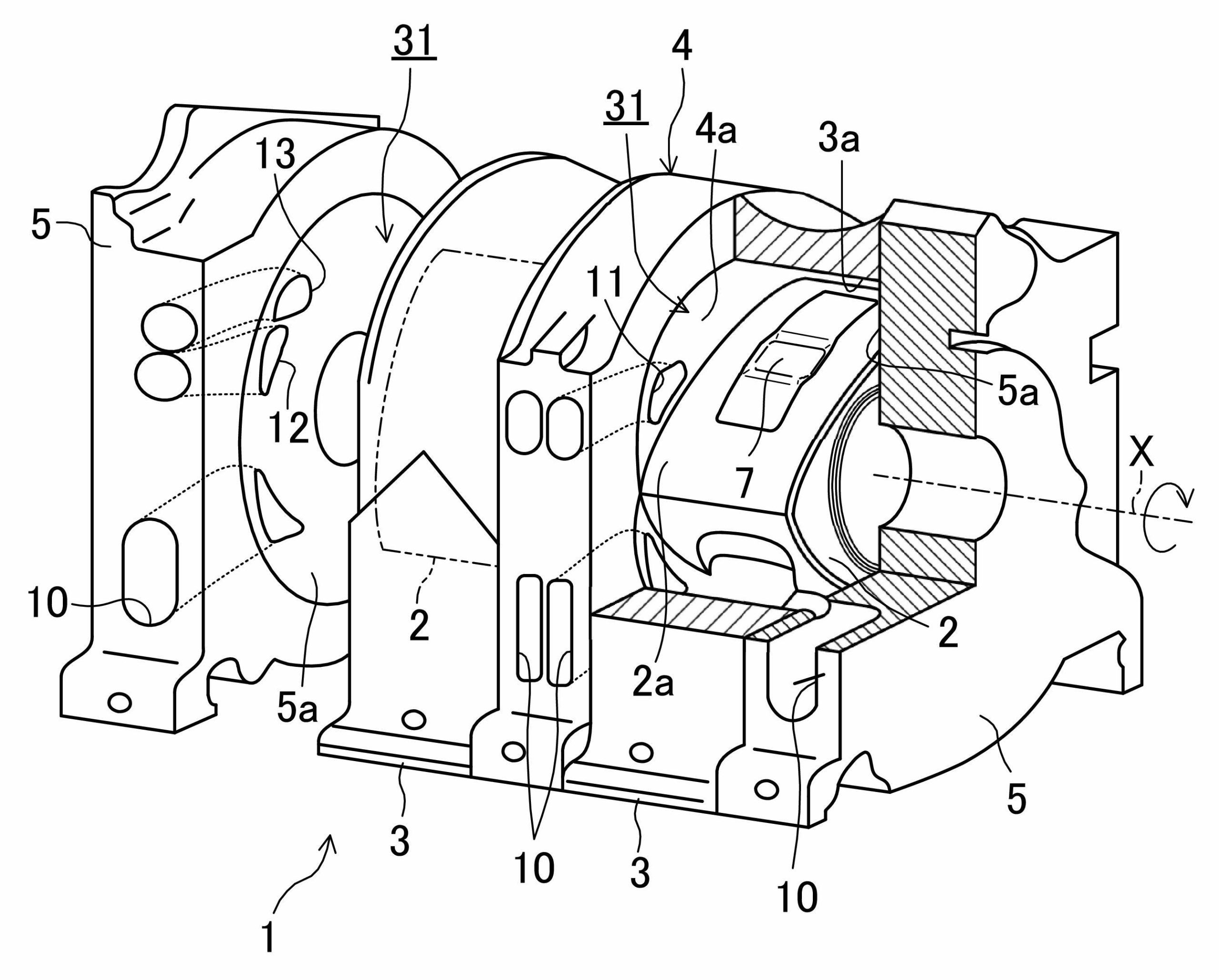
特開2023-78692 ロータリーエンジン
- 課題
ロータリーエンジンの燃費性能を向上させる。 - 解決手段
】ロータ2の外周面2aのリセス7は、外周面中央Cと比べてL側に配置されかつ該L側に向かって延びる第1凹部71と、第1凹部71からL側に延びる第2凹部72と、第1凹部に連続しかつ外周面中央CよりもT側まで延びる第3凹部73とを備えるとともに、第1凹部71、第2凹部72および第3凹部73は、それぞれ、外周面の長手方向に所定長さL1,L2,L3を有する底面71a,72a,73aを備える。外周面2aの長手方向に直交し且つロータ2の回転軸心Xを通る平面でリセス7を横断したときのリセス7の断面積は、第1凹部71における底面71aの断面積が、第2凹部72における底面72aの断面積および第3凹部73における底面73aの断面積と比べて最も大きくなる。









特開2023-78692 | 知財ポータル「IP Force」(ロータリーエンジン)
関連特許
- 特開2023-78693 ロータリーエンジン
ロータリーエンジンの燃費性能を向上させる。 - 特開2023-78740 エンジンの吸気構造
エンジン本体周りに吸気通路をコンパクトに配設しつつ吸気とEGRガスの混合を促進できるエンジンの吸気構造を提供する。 - 特開2023-78741 エンジンの吸気構造
吸気通路の振動をより確実に抑制できるエンジンの吸気構造を提供する。 - 特開2023-78742 エンジンの吸気構造
吸気通路の振動をより確実に抑制できるエンジンの吸気構造を提供する。 - 特開2023-78856 ロータリーエンジン
ロータリーエンジンの燃費を改善する。
 
制御に関しては、コンピューターの性能がどんどん上がっているので、どんどん緻密になっているのでしょう。以前は不可能だったことも今では実現可能になっていることもあるのでしょう。もう、さっさと8Cを市場デビューさせちゃって欲しいです。そして、PHEVのみならず、HEVにも載せて普及を図って行って欲しいです。


コメント
マツダも本当ならロータリーに注力したいところでしょうが、安全機能や電動化への研究、開発と膨大なコストがかかることで思う様に進めない状況ではないかと察します。特に電動化は、メーカーの開発コストに加えディーラーの電動車の修理設備にも、かなりの費用がかかる為、そのあたりが大きなメーカーとの差となっているものと思います。じっくりと腰をすえた開発を願うばかりです。