マツダが公開したロータリーエンジンの特許は、燃焼室の形状と点火制御を最適化し、燃費改善や燃焼音の低減、熱損失の抑制を図る設計内容となっています。
マツダ、ロータリーエンジンの燃焼を最適化する新設計を特許出願
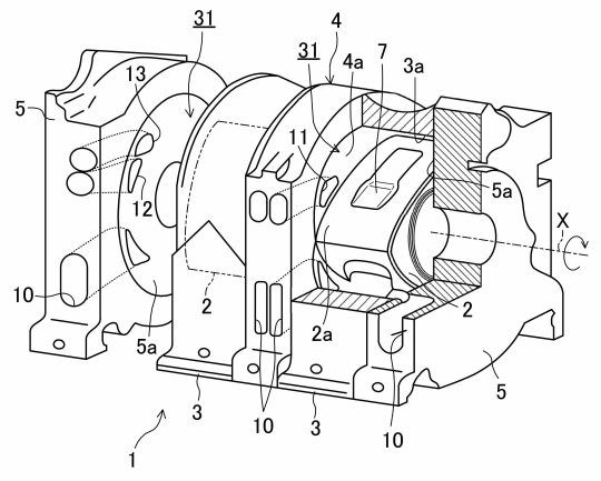
特許7750057 ロータリーエンジン
背景
ロータリーエンジンは、トロコイド形状のハウジング内でロータが回転する構造を持ち、ロータ外周の凹み(リセス)によって燃焼室が形成されます。従来の技術では、リーディング側の凹部を大きくすることで火炎の成長を促進し、点火の遅れを減らすとともに熱効率の向上を図ってきました。しかし、火炎の急速な成長は混合気の燃焼速度を高め、燃焼音の増加やガス漏れ、冷却損失の増大を招き、燃費改善には不利となる課題がありました。
課題
急速な燃焼による熱発生の増加を抑えつつ、燃焼効率を維持することが求められていました。具体的には、燃焼音やガス漏れの抑制、冷却損失の軽減、そして燃費向上との両立が課題となります。
解決手段
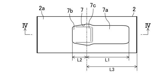
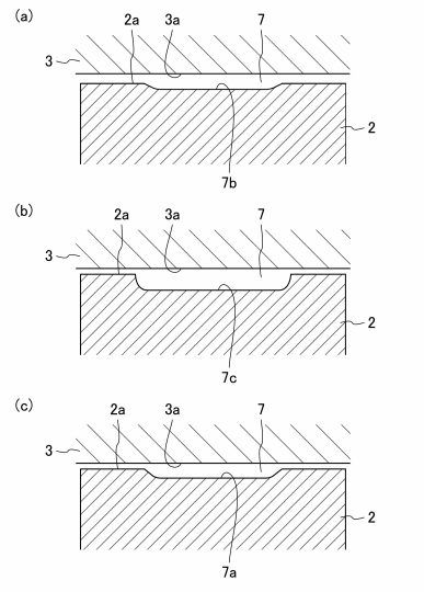
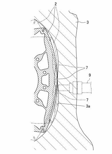
本特許では、ロータ外周面のリセス形状と点火制御の組み合わせにより、火炎の成長を適切に制御しています。リーディング側凹部(L側)を長めに設計し、中央部の断面積を最も大きくすることで、TDC(圧縮行程上死点)付近においてトレーリング側(T側)からL側への混合気の流速を抑制します。これにより、火炎の急激な成長が防がれ、燃焼が緩やかに進行します。さらにT側凹部の傾斜と長さを調整することで、二段燃焼の発生や規模を抑制し、未燃混合気の供給をスムーズにしています。点火プラグはL側に配置され、TDC前に点火することで燃焼の安定化と制御が可能となります。







効果
この設計により、主燃焼の熱発生が急にならず、冷却損失を抑えたまま燃費を改善できます。また、燃焼音の低減やガス漏れ防止にも有効であり、点火時期の進角も容易になることから、エンジン性能と効率の両立が実現されます。

